Fab-Form Industries Ltd. Announces New Product Flex-R Sub-Slab Panel
Delta, British Columbia–(Newsfile Corp. – February 24, 2026) – Fab-Form Industries Ltd. (TSXV: FBF) (“Fab-Form®“, or the “Company”), a leading innovator in sustainable concrete forming solutions, today announced the application of a new USA design patent for its advanced concrete sub-slab panel, “FLEX-RTM“. Engineered to address growing demands for energy-efficient and health-conscious building practices, the panel reduces heat loss, prevents moisture intrusion, and facilitates passive radon venting, all in a single product.
“This new design represents a significant leap forward in our commitment to ‘Taming the Ground’ through innovative, sustainable products,” said Richard Fearn, Chief Technology Officer of Fab-Form Industries Ltd. “By blending form and function, we’re not only helping builders meet stringent building codes for energy efficiency and indoor air quality but also eliminate the challenges of uneven ground.”
FLEX-R™ is an innovative concrete sub-slab panel that simultaneously fulfills seven important functions for the building industry: Provides insulation capacity of R12 (or as required by local code), Hex-panels™ automatically adapt to uneven ground, up to ½” per 12″ length, provides the damp proof membrane for the slab, has double sided tape on two sides to quickly seal the membrane together, provides radon protection as per the building code, provides an air barrier as per the building code and facilitates radon gas removal.
This further eliminates the possibility of slab settlement and cracks due to gaps between the rigid insulation and ground, reduces installation labour by up to 70%, double sided tape enables rapid installation of the vapour barrier at the same time as the panels, Hexagonal gaps in the EPS facilitate radon gas evacuation, and Vapour barrier prevents radon gas infiltration into the building.
“Site labour is so expensive,” said Joey Fearn, Chief Executive Officer. “Flex-RTM minimizes the labour required to install sub-slab insulation and a vapor barrier at the same time.”
FLEX-R Intellectual Property
United States Patent
On the 27th of May 2025, Fab-Form applied for a US patent entitled: “APPARATUS FOR UNDER-SLAB INSULATION, RADON CONTROL AND DAMP-PROOFING”. Refer link for more information – https://fab-form.com/en/investor/new-patents.
Abstract of the Disclosure
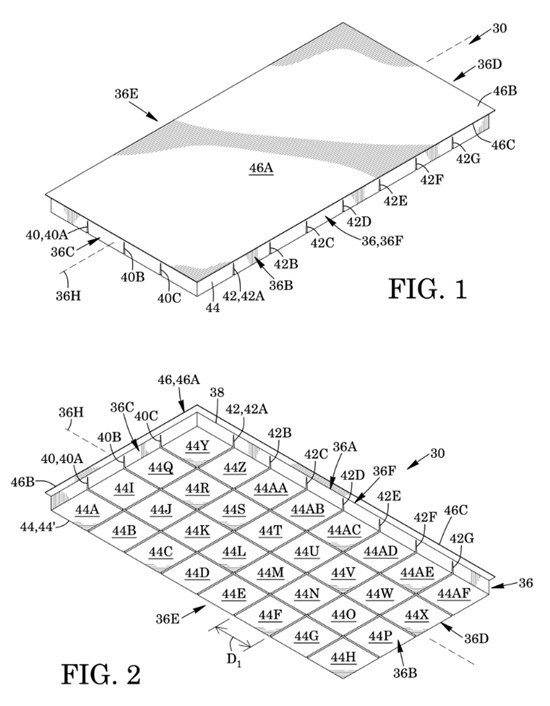
There is provided an apparatus for under-slab insulation, radon control and damp-proofing. The apparatus includes an insulation body having a first plurality of longitudinally extending and laterally spaced-apart elongate grooves, and a second plurality 5 of laterally extending and longitudinally spaced-apart elongate grooves intersecting with the first plurality of elongate grooves. Each groove extends from a bottom towards a top of the insulation body. The apparatus includes a vapor barrier coupled to the top and/or bottom of the insulation body. The grooves in the insulation body facilitate angular deflection of 10 adjacent lower portions of the insulation body while inhibiting airflow and heat transfer therethrough. The insulation body includes an upper portion above the grooves thereof, with each groove having an opening or width that is equal to or less than the thickness of the upper portion of the insulation body. Each groove has a depth-to-width ratio of equal to or greater than 5. Figure 1 and Figure 2.
Figure 1 and Figure 2
To view an enhanced version of this graphic, please visit:
https://images.newsfilecorp.com/files/814/285176_baf9c3d23422e880_002full.jpg
Canadian Patent
On the 20th of October 2025, Fab-Form purchased the right, title and interest in Canadian patent 3,029,299 from Jonathan Kowalchuk, an innovative concrete contractor, shown in this picture (Figure 3). The patent, entitled: “VADIR BARRIER: A CONCRETE SLAB UNDERLAYMENT WITH ALL-IN-ONE VOID FORM, AIR BARRIER, DRAINAGE PLANE, INSULATION AND RADON PROTECTION”, was issued 28th January 2020.
We commend Jonathan’s efforts in improving concrete construction with his invention. As they say, great minds think alike.
Figure 3 – Jonathan Kowalchuk
To view an enhanced version of this graphic, please visit:
https://images.newsfilecorp.com/files/814/285176_baf9c3d23422e880_003full.jpg
Trademark
Applied for Flex-R trademarks in United States and Canada, in January 2026.
The Company will continue to update its stakeholders and the public on the progress of the patent application and the product’s development.
About Fab-Form®
Fab-Form Industries Ltd (“Fab-Form®“) is a leading eco-friendly concrete forming products manufacturer located in Vancouver, BC Canada. Since its inception in 1986, the Company has invented, developed, and commercialized foundation products that are greener and more sustainable for the building industry.
The Company has traded on the TSX Venture Exchange (“TSXV” under the symbol FBF) since 2000.
Forward-Looking Statements
Some statements contained in this news release constitute “forward-looking statements” as is defined in applicable securities laws. These statements include, without limitation, the success of developing, manufacturing, and distributing new products and other similar statements concerning anticipated future events, conditions, or results that are not historical in nature, and reflect management’s current estimates, beliefs, intentions, and expectations. These statements are not guaranteeing future performance. The Company cautions that all forward-looking information is inherently uncertain, and that actual performance may be affected by several material factors, many of which are beyond the Company’s control. Such factors include, among others, risks and uncertainties relating to product development; the ability of the Company to obtain additional financing; the Company’s limited operating history; the need to comply with environmental and governmental regulations; potential defects in product performance; fluctuations in currency exchange rates; fluctuating prices of commodities; operating hazards and risks; competition; the uncertainty of capturing market share and other risks and uncertainties. Accordingly, actual future events, conditions, and results may differ materially from the estimates, beliefs, intentions, and expectations expressed or implied in the forward-looking information. These statements are made as of the Report Date and, except as required by law, the Company is under no obligation to update or alter any forward-looking information.
Neither the TSX Venture Exchange nor its Regulation Services Provider (as that term is defined in policies of the TSX Venture Exchange) accepts responsibility for the adequacy or accuracy of this release.
Company Contact: Joseph Fearn, CEO, | joey@fab-form.com | 604 596-3278
For additional information, please visit our website at www.fab-form.com
View our profile on SEDAR+

To view the source version of this press release, please visit https://www.newsfilecorp.com/release/285176
